
地址:
215100江苏省苏州市虎丘区横塘科技工业园
分类号:
B02C4/08(2006.01)I;
摘要:
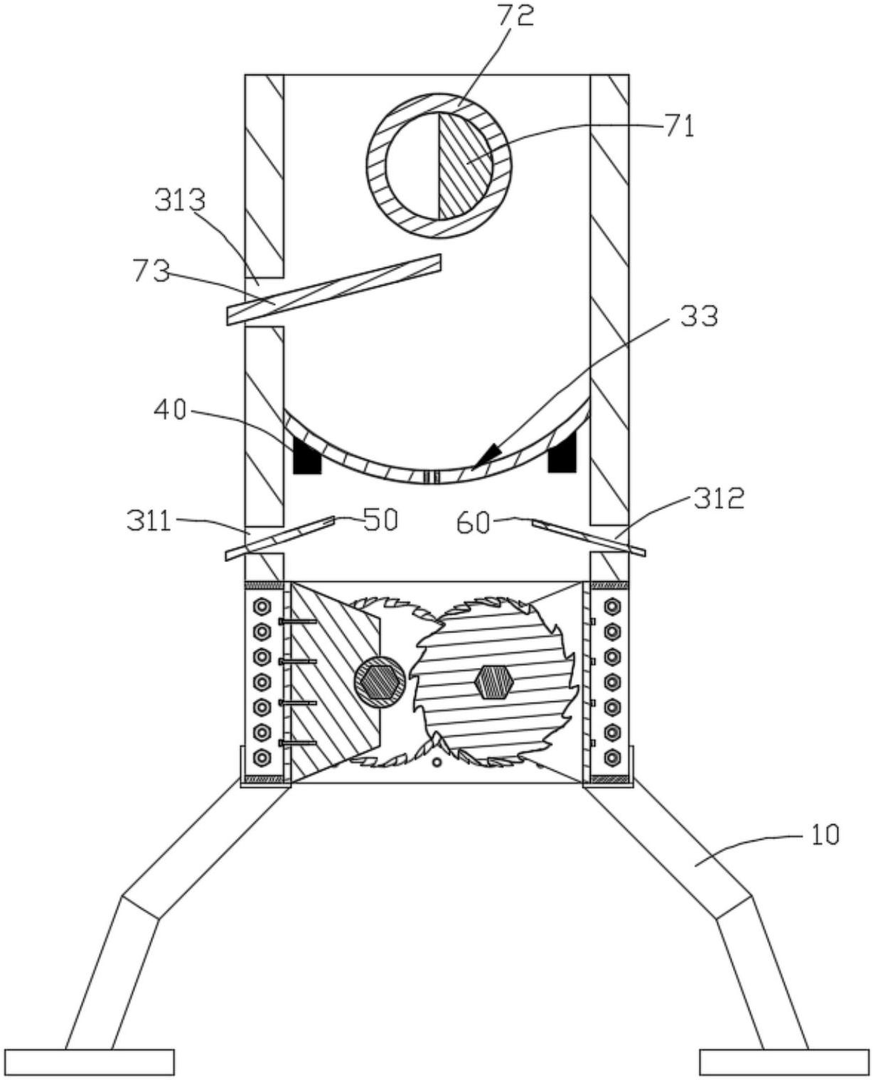
本发明公开了一种破碎装置,包括:支撑腿;安装在所述支撑腿上的破碎辊单元,其包括一上、下端开口的第一罩壳、转动设置在所述第一罩壳内用于破碎物料的第一破碎辊组和第二破碎辊组;安装在所述破碎辊单元正上方的筛选单元,其包括一安装在所述第一罩壳顶部的第二罩壳、安装在所述第二罩壳外部的驱动组件、安装在所述第二罩壳内的弧形板组件、用于连接所述驱动组件和所述弧形板组件的安装座;固定设置在所述第二罩壳内且位于所述弧形板组件下方用于接料的第一层板和第二层板。本发明具有生产成本低,生产效率高,使用寿命长的优点